INVESTIČNÍ POZEMEK NA JIŽNÍ MORAVĚ
- [11.11. 2025]Smazat/ Upravit/ Topovat










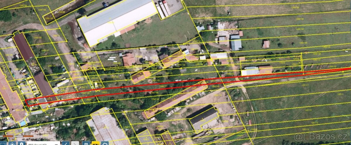
Nabízím k prodeji soubor pozemků na LV 788, kú Charvátská nová ves, obec Břeclav.
Celková výměra činí 1896m2 . Jedná se o oblast bývalého ZD. Jedná se o strategický pozemek který je ideální pro podnikatelské záměry a vhodnou investici pro budoucí rozvoj dané lokality. Vzhledem k šíři 6 metrů je vhodný záměr koupě sousedních parcel a vytvoření zastavitelné plochy, nebo naopak možnost v budoucnu pozemek výhodně prodat sousedním vlastníkům, či majitelům budov, jejíž části leží na pozemku. Areál je veden v územním plánu jako plochy smíšené obytné, vhodné například pro výstavbu dalších komerčních objektů či bydlení. Jednotlivé parcely jsou vedeny jako zastavěné plochy a nádvoří, ostatní plochy a orná půda.
Celková výměra činí 1896m2 . Jedná se o oblast bývalého ZD. Jedná se o strategický pozemek který je ideální pro podnikatelské záměry a vhodnou investici pro budoucí rozvoj dané lokality. Vzhledem k šíři 6 metrů je vhodný záměr koupě sousedních parcel a vytvoření zastavitelné plochy, nebo naopak možnost v budoucnu pozemek výhodně prodat sousedním vlastníkům, či majitelům budov, jejíž části leží na pozemku. Areál je veden v územním plánu jako plochy smíšené obytné, vhodné například pro výstavbu dalších komerčních objektů či bydlení. Jednotlivé parcely jsou vedeny jako zastavěné plochy a nádvoří, ostatní plochy a orná půda.
|
| |||||||||||||||||||||||||||||||
Kontaktovat inzerenta emailem
Kontaktovat emailem může pouze ověřený uživatel.
Ověření je zdarma.
Vaše telefonní číslo *
Kontaktovat emailem může pouze ověřený uživatel.
Ověření je zdarma.
Vaše telefonní číslo *